|
|
|
||
![]() |
|
|
|
![]() |
|
||
|
|
|
||
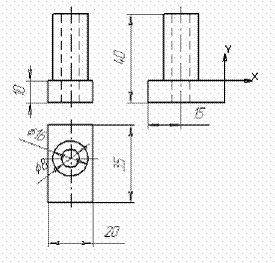
Задание По заданному чертежу детали «Корпус» (рис. 1) в системе трёхмерного твёрдотельного моделирования КОМПАС-3D выполнить её наглядное изображение в виде пространственной модели детали. 3.Алгоритм построения пространственной модели детали
Прорисовка цилиндрического выступа детали. 11 Выбрать указателем верхнюю плоскость основания (после выбора контур плоскости изменит черный цвет на зеленый).
Прорисовка сквозного отверстия в цилиндрическом выступе детали. 20 Выбрать указателем верхнее основание цилиндра (после выбора контур окружности изменит черный цвет на зеленый). 21 В падающем меню Операции выбрать команду Новый эскиз. 22 В Инструментальной панели найти пиктограмму Ввод окружности и нарисовать контур отверстия. 23 В Инструментальной панели пиктограммой Размеры и технологические обозначения активизировать панель команд измерения объектов. 24 Проставить диаметральный размер отверстия в цилиндре, указывая заданный в задании размер в строке Значение, мм, нажать на клавишу OK. 25 В падающем меню Операции выбрать команду Вырезать, Выдавливанием. 26 В окне Параметры установить следующие параметры операции выдавливания: Прямое направление и Через все, нажать клавишу Создать. 27 В падающем меню Сервис выбрать команду Отображение, Полутоновое для тонирования детали. 28 В падающем меню Файл выбрать команду Сохранить. 4.Редактирование эскиза детали Пример - Изменить значение диаметра цилиндрического выступа детали: предыдущее значение – 16 мм, новое: 14 мм. 1 В Дереве построения указать на пиктограмму Эскиз 2, щелкнуть правой кнопкой мышки и из появившегося меню выбрать Редактировать эскиз. 2 В Инструментальной панели пиктограммой Размеры и технологические обозначения активизировать панель команд измерения объектов. 3 Указать мишенью на размер, нажать на левую кнопку мыши (объект поменяет черный цвет на зеленый), нажать на правую кнопку, выбрать из появившегося меню Вырезать и снова указать на размер мишенью. 4 Проставить новый диаметр нижнего основания цилиндра, указывая в строке Значение: 14 мм. Нажать на клавишу OK. 5.Редактирование элемента детали. Пример - Изменить высоту основания детали: предыдущее значение – 10 мм, новое: 8 мм. 1 В Дереве построения указать на пиктограмму Операция выдавливания, щелкнуть правой кнопкой мышки и из появившегося меню выбрать Редактировать элемент. 2 В окне Параметры установить следующие параметры операции выдавливания: Прямое направление и Расстояние: 8 мм, нажать клавишу Создать. Самостоятельно выполнить вариант задания, выданного преподавателем. |
|
||
|
|
|
||
![]() |
|
||
|
|
|
||
|
|
|
|
|